- 1、全局快门与卷帘式快门
- 2、sensor曝光时间如何计算,hts,vts,hblack等相关参数的具体
- 3、1个像素等于多少秒
- 4、ccd和cmos有什么区别和差别呢?
- 5、CCD里一堆的参数,哪些最说明问题?
- 6、对于TCD1304这种CCD中SH信号有好几个周期,为什么积分时间是最后两...
全局快门与卷帘式快门

1、相比之下,全局快门则是在整个图像传感器上同时曝光。这种工作方式可以避免卷帘快门在高速连拍时可能产生的运动模糊。不过,由于传感器上的每一个像素都被同时曝光,全局快门对于动态物体的拍摄可能会出现垂直线条模糊的问题。卷帘快门适合拍摄需要捕捉动态物体的场景,例如体育比赛、野生动物等。
2、CMOS传感器的全局快门可以通过在像素阵列顶部添加微透镜来解决填充因子的限制。这种技术适用于CCD和CMOS传感器,并且随着像素尺寸不断缩小变得越来越重要。使用外部机械快门可以为CMOS传感器提供全局快门功能。在这种情况下,采用全局重置,即首先完全打开机械快门,所有光电二极管同时复位,然后开始积分,如图所示。
3、常见的电子快门的方式有两种:Globalshutter(全局快门)和rollingshutter(卷帘式快门)。全局快门是通过整幅图片在同一时间曝光实现的。传感器的所有像素点同时收集光线,同时曝光。当预设的曝光时间到了,传感器停止收集光线,并将曝光图像转成电子图像。在这个过程中,并没有实际意义上的快门存在。
4、Global Shutter(全局快门)是通过同时曝光整个场景实现的。所有像素点同时收集光线并曝光,同步切断光线收集电路,然后读取Sensor值。CCD技术采用此模式,尤其在快速移动物体的拍摄中大显身手。
5、卷帘快门 卷帘快门英文标识为Rolling shutter,这种快门的特点就是CMOS像素(二极管)渐次曝光。也就是CMOS一个接一个的曝光,这样的好处是可以达到更高的帧率,但坏处就是被摄主体快速移动时,会出现部分曝光(partial exposure)、斜坡图形(skew)、晃动(wobble)等现象。
6、通过电子快门控制CMOS图像传感器的积分时间,成为电影制作技术中关键的一环。CMOS图像传感器的快门机制分为两种:卷帘式快门和全局式快门。卷帘式快门(Rolling Shutter)以快速扫描方式捕获画面,图像分批记录。快门通过控制芯片逐行曝光实现,不同部分在不同时间对光敏感度不同,直至所有像素点被曝光。
sensor曝光时间如何计算,hts,vts,hblack等相关参数的具体

1、在overlap-逐行曝光中,存在两种表达帧周期的公式:第一种以读取时间为基础,第二种则将帧周期分解为积分时间、垂直消隐、行读出时间及额外的垂直消隐时间。在overlap运行中,通过调整垂直消隐时间可以改变帧率,但存在最小值和最大值限制,以避免不同帧的同一行出现曝光时间重叠。
2、- 计算曝光时间(exposure_time):exposure_time = integration_time * line_time。- 计算帧率(fps):fps = pclk/(frame_length * line_time)。调整帧率通常通过改变VTS(场消隐时间)实现,即增加帧间间隔的时长,从而减少每秒内处理的帧数。
1个像素等于多少秒

1、一像素大约等于0.35每秒。照片的分辨率一般是按英寸来计算的,英寸是固定单位,而像素的多与少要看照片的分辨率,分辨率越高,每英寸之间的像素数就越多,当然换算成厘米也可以表达,只是不能通用。
2、个像素等于3600秒。像素是计算机屏幕上所能显示的最小单位,用来表示图像的单位,在非学术性媒体中,亦通俗作象素。像素是指由图像的小方格组成的,这些小方块都有一个明确的位置和被分配的色彩数值,小方格颜色和位置就决定该图像所呈现出来的样子。
3、cm、pt之类的都是绝对长度,它们是物理长度——1cm是1/100米,而1米则大约是光在1秒钟内跑过距离的3亿分之一。(至于光速和1秒的精确值到底是多少,请查阅维基百科光速条目和秒条目。)1pt则是1/72英寸,而1英寸换算到公制是54cm。而em、ex,以及百分比,则是相对长度。
4、像素和字节的换算关系取决于图像的颜色模式。对于灰度图像,一个像素占用 1 个字节,因此像素和字节的换算关系为 1:1。对于彩色图像,一个像素通常占用 3 个字节,分别表示红、绿、蓝三种颜色的值。因此,像素和字节的换算关系为 1:3。
ccd和cmos有什么区别和差别呢?

第一,出现时间区别:CCD早于CMOS出现。CCD传感器最早出现在1990s时期,而CMOS传感器则是2000年前后才出现,并在之后逐步在民用消费级产品领域取代CCD成为主流。第二,画质差别:CCD的画质优于CMOS。这源于二者工艺的不同。
CCD和CMOS的区别:含义不同,制造不同。含义不同:CCD是目前比较成熟的成像器件,CMOS被看作未来的成像器件。制造不同:CD和CMOS在制造上的主要区别是CCD是集成在半导体单晶材料上,而CMOS是集成在被称做金属氧化物的半导体材料上,工作原理没有本质的区别。
结构不同 CCD是由一系列被电荷控制放电的存储电容器组成的芯片,每个存储单元各自独立进行电荷转移。CMOS传感器则是由成熟的集成电路工艺制成,每个像素都具有一个转换电路。因此,CMOS传感器比CCD更灵活,因为电荷放置在传感器后面的集成电路中,使其可以融入到处理经验中。
CCD与CMOS的区别有:灵敏度差异 由于CMOS传感器的每个象素由四个晶体管与一个感光二极管构成(含放大器与A/D转换电路),使得每个象素的感光区域远小于象素本身的表面积,因此在象素尺寸相同的情况下,CMOS传感器的灵敏度要低于CCD传感器。
CCD里一堆的参数,哪些最说明问题?

。关于ccd,主要是有两个参数,一个是ccd大小,另一个是ccd像素。ccd大小一般是这样表示的的:1/7或者1/5等等,那个1/后面的数值越小,ccd越大,成像越好。比如刚才写的那两个,1/7就比1/5好。明白了吗?至于像素,我个人认为1000万像素和1400万像素几乎没有区别!关键是ccd大小。
这两个指的都是CCD的尺寸,CCD指的是相机里的感光元件尺寸,1/1/6指的是换算到135胶片的尺寸,135胶片尺寸是36*24mm,1/7只有27*96mm。理论上讲ccd越大成像效果越好,1/6比1/3要大一些(注意这是一个倒数,数值越大倒数越小),所以成像效果要好一些。
景深(Depth of Field)是另一个关键参数,它表示能够清晰聚焦的最近和最远点之间的距离,受镜头焦距和光圈大小的影响。通过缩短焦距和缩小光圈,可以增加景深,使场景中更多元素清晰可见。
首先看用途你是成像用还是光谱用,其次看波段是可见光、红外还是紫外。最后确定分辨率多少、曝光时间多长、温漂有没有、暗电流等。一般我们可见光谱就有:积分时间、平滑宽度和平均次数。
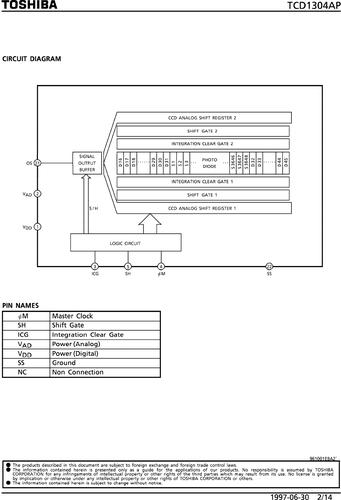
对于TCD1304这种CCD中SH信号有好几个周期,为什么积分时间是最后两...

1、电子快门方式,积分时间就是SH脉冲周期的宽度。所以脉冲周期大小决定了积分时间。这样可以更精确的控制积分时间。可以实现更短时间的曝光。ICG是积分清空信号,就相当于清空残留电荷,下一帧图像重新开始积分。
2、CCD图像传感器输出的都是三阶梯型的模拟视频信号。d 的幅值就是实际有用信号的幅值。光照强度约高,d 的宽度越大,反之则越小。上图中的阴影,实际就是表示的是下图中的d ,一个三阶梯信号代表一个像素的输出,你就可以理解为,上图是多个像素的输出,图形简化了而已。


微信扫一扫打赏
支付宝扫一扫打赏







